< >

瑞康心电图机e1800 plus

  • 价格:电议
  • 发布时间:2022-11-22 13:37:53
  • 联系我们:13524532503
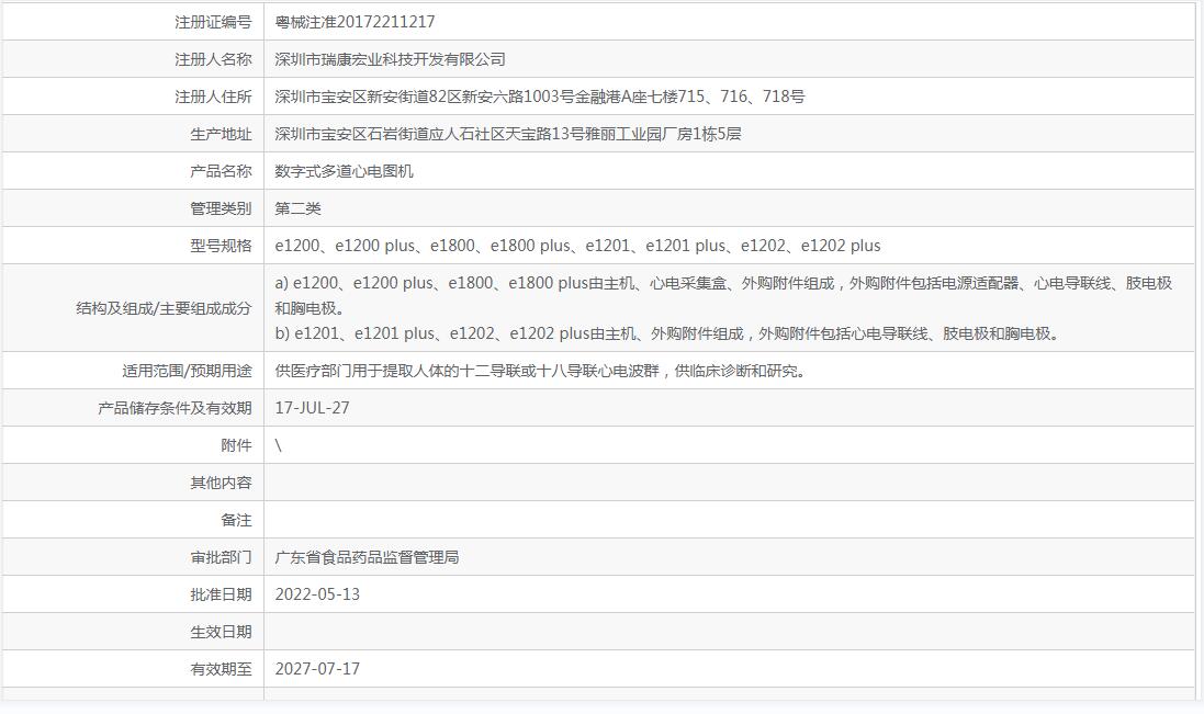
  • 注册证号:粤械注准20172211217

瑞康心电图机e1800 plus

1

高清彩色触控屏

9/12/15/18导联同步采集、分析、打印

超高采样质量,智能心电算法

先进的抗基线漂移技术,基线平稳,出波快速

2


上海聚慕医疗器械有限公司
地址:上海闵行区联川路258号浦江智地精品商务园6B号楼3层301B
电话:13524532503 (沪)-非经营性-2022-0060

©上海聚慕医疗器械有限公司

[沪ICP备17007809号-8]

知识产权侵权投诉:不生产医疗产品所有产品均来自产品的生产厂商、代理商、经销商,如有侵权请联系客服