< >

心电图机L-FX 8600

  • 价格:电议
  • 发布时间:2022-11-04 13:15:51
  • 联系我们:13524532503
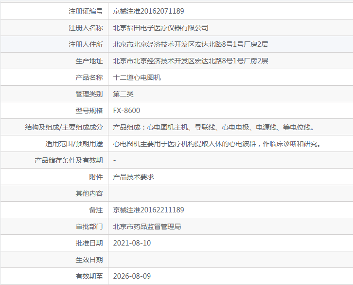
  • 注册证号:京械注准20162071189

心电图机L-FX 8600

2

* 十二导联心电波形同步采集和记录

* 胸部导联切换功能,可以采集24导联心电波形

* 12.1英寸彩色液晶触摸屏,与打印波形1:1对应

* 提供Brugada综合征风险报告

* 可使用中文输入相关信息

* 具有波形冻结功能,回放分析10分钟心电波形

* 配备网络接口,可有线或者无线连接心电数据管理系统

* 交直流两用,内置锂电池

 1



上海聚慕医疗器械有限公司
地址:上海闵行区联川路258号浦江智地精品商务园6B号楼3层301B
电话:13524532503 (沪)-非经营性-2022-0060

©上海聚慕医疗器械有限公司

[沪ICP备17007809号-8]

知识产权侵权投诉:不生产医疗产品所有产品均来自产品的生产厂商、代理商、经销商,如有侵权请联系客服