< >

SN-1500H 输液泵

  • 价格:电议
  • 发布时间:2022-11-01 14:43:04
  • 联系我们:13524532503
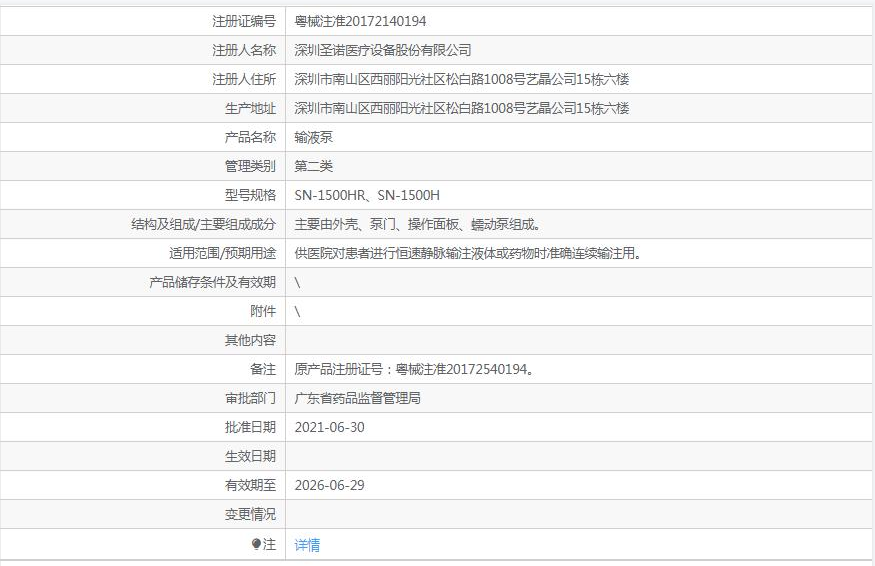
  • 注册证号:粤械注准20172140194

SN-1500H 输液泵

1

· 更精巧:卧式结构,有效防止液体渗入泵体,可固定在输液架上,亦可平放于桌面输液

· 更:智能脉动补偿,实际输液流速风均匀,输液过程更舒适

· 更舒适:管路加热功能,舒适并确保精度

· 更安静:高品质电机驱动,振动小,噪音低

· 更:双CPU实时监控,性高

· 更体贴:泵内夜间照明,体贴的人性化设计

· 更方便:四种输液模式,使用方便

2



上海聚慕医疗器械有限公司
地址:上海闵行区联川路258号浦江智地精品商务园6B号楼3层301B
电话:13524532503 (沪)-非经营性-2022-0060

©上海聚慕医疗器械有限公司

[沪ICP备17007809号-8]

知识产权侵权投诉:不生产医疗产品所有产品均来自产品的生产厂商、代理商、经销商,如有侵权请联系客服