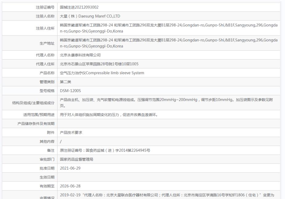
韩国大星空气压力治疗仪DSM-1200S

产品优势
,具备八种充气变化可以任意组合成临床所需的多种治疗处方。
”联合处方(A+B+G)组合成的动脉模式,可满足内分泌科,高干科和周围血管科的特定腐床需要,临床最权威的20~200mmHg压力梯度设计,有效地保护静脉避膜不受损伤。:每腔压力独立调节,具有零压力跳过功能,可避开伤口部位受压。。每腔压力持续时间可调节,对脉动流的流速和流量的变化进行干预,。循环间隔时间可调节,保证最适宜的静脉回流效果。"治疗时间:0-99分钟可调,。十二腔序贯叠加气囊
,原装内衬,透气率提高60%,既改善病人的舒适度,又方便拆洗、消毒,避免交叉感染
,大游幕实时显示充气部位,组合模式,剩余时间,套筒真实压力,每腔持续加小时间,衢环间海时间,超静音设计,夜间运行也不影响患者休息

上海聚慕医疗器械有限公司
地址:上海闵行区联川路258号浦江智地精品商务园6B号楼3层301B
电话:13524532503 (沪)-非经营性-2022-0060
