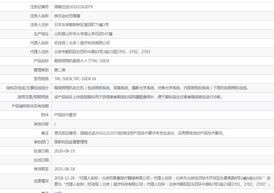
拓普康眼底照相机TRC-50DX

快速发展的数码相机技术使得视网膜成像具有更高的分辨率和更新的捕获方法。TOPCONTRC-5ODX
配备的视网膜照相机采用了最先进的传感器,不仅提高了图片质量,还具备多功能性,操作简单等优势。
TRC-50DX提供多种模式眼底成像,包括彩照、无赤光、视网膜造影);同时TRC-50DX(IA型)可实现脉络膜荧光造影ICG2和自发荧光Auto Fluo2拍摄。
特点
多模式眼底成像-彩照、无赤光、自发荧光(Auto Fluo)、 视网膜造影、ICG
三档光学变倍,50°、 35°以及20°独家专用黄斑拍摄模式
连续高速拍摄,成像稳定,影像细节完美呈现

上海聚慕医疗器械有限公司
地址:上海闵行区联川路258号浦江智地精品商务园6B号楼3层301B
电话:13524532503 (沪)-非经营性-2022-0060
