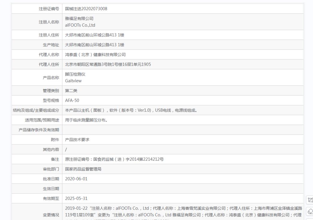
雅福足脚压检测仪AFA-50

REASEN步态分析系统能够实时精准地采集人在行进状态下的肢体数据信息,通过人体生物力学和运动学方法,以人体步态规律为依据,运用计算机算法对人的步态进行全面深入的分析评估。本系统可以用于指导康复评估、临床诊断与治疗、疗效评估、医学及运动机理研究等领域。
系统将高精传感器微型化内置到芯片中,使用三轴加速度、陀螺仪和磁力计传感器获得加速度、角速度、欧拉角、姿态四元数等数据,通过融合算法得出人体的精确姿态,利用生物力学方法获取有关步态的运动学参数和动力学参数,包括步长、步频、步幅、步数、步速、步行周期、关节屈伸、内旋、外旋、内收、外展曲线等数据,并提供- -键式导出的临床分析报告或科研分析报告。
适用领域及机构
医科院校、三甲医院、康复专科医院、残疾人康复中心、假肢装配中心、
福利院社区康复医院、居家养老中心、特教中心等
康复医学科、骨科、运动医学科、神经内外科、脑外科、儿科、矫形外科
内分泌科、手足外科、疼痛科、老年科等
体育院校、体育科研实验室、体检中心、运动培训机构、健身房俱乐部等
体能测试、专业运动分析、体育训练指导、形体训练、体育科研、生物力学研究等
仿真训练、军姿训练、体能训练、运动评估、机器人控制、微动作行为心理分析等

上海聚慕医疗器械有限公司
地址:上海闵行区联川路258号浦江智地精品商务园6B号楼3层301B
电话:13524532503 (沪)-非经营性-2022-0060
