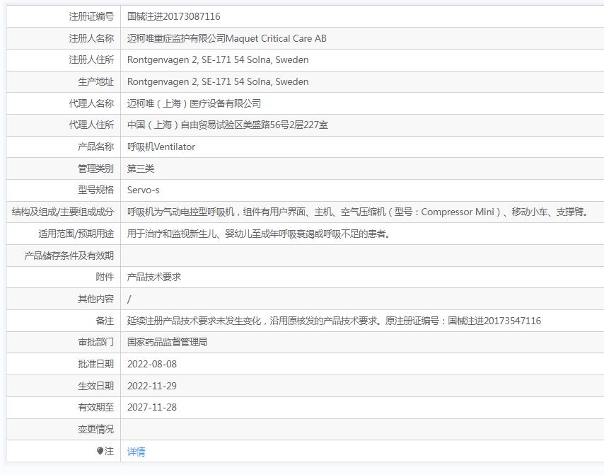
迈柯唯呼吸机 Servo-s

卓越的伺服反馈控制系统
具有出色的准确性和灵敏性,能根据病人的呼吸压力和流
量变化迅速响应。即使偏离设置值的微小变化也能准确地
探测到,并由SERVO伺服阀门及时作出相应的调整,从
而确保为病人提供准确的通气支持。
感染控制解决方案
SERVO-s呼吸平台采用模块化设计.电路和气路分离.
便于维护保养,大大降低了后期维护成本。
维护。有效降低病人之间交叉感染的风险,为医院进行感
染控制提供解决方案.
SERVO-s呼吸平台可实现内外管路消毒。
独特的超声流量传感器
采样频率高,不受呼出气体的温度、湿度和分泌物的影
响,监测十分准确,实时反映病人的呼吸状况.
非耗材,为医院节省使用成本。
更高标准的通气效率
增强的机器自检功能,自动进行病人呼吸回路顺应性和阻力
检测,确保机器能够准确输送预设潮气量。
潮气量经过BTPS温度湿度补偿,更加准确,满足临床使用需要
智能的窒息后备通气,可在自主呼吸和后备通气之间自动切换,有效保障病人机械通气的使用以及自主呼吸的锻炼,同时减少了医护人员的工作量。

上海聚慕医疗器械有限公司
地址:上海闵行区联川路258号浦江智地精品商务园6B号楼3层301B
电话:13524532503 (沪)-非经营性-2022-0060
