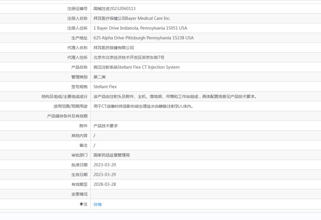
拜耳高压注射系统Stellant Flex
Medrad Stellant@ D_CE双筒CT高压注射系
统可靠易用,它是拜耳CT影像解决方案一个
不可或缺的部分
拜耳影像解决方案中还包含Radimetrics TM
智能化信息管理平台、优质耗材、售后服务
以及对比剂
可选的注射方案以满足最先进的临床应用:
< >为复杂CT增强检查而设计2
◆实现对比剂团注
◆精细化控制给药时间
双流注射优化心脏造影
临床研究表明,用户可以设定合适比例同时注射对比剂和生
理盐水1:
◆提供左右心室腔的显影
◆减少伪影,获得优化显影
优化检查流程和图像,可以在单次检查中显示右冠脉和
右心室
Certegra工作站主要特点:
◆信息平台一实现扫描设备 、Medrado Stellant@ D-CE双筒
注射器、PACS、RIS和语音识别系统之间的互联
◆存储和调取多达250份注射方案
增强的注射方案管理器
新增的Certegra@ P3TO软件,可以预设偏好的注射方案,并
对注射方案进行存储和调取,以此帮助放射科医师实现注射
方案标准化
Certegra工作站是拜耳Certegra@ @ Point of Care应用程序的
奠基石,也是业内领先3的对比剂信息管理解决方案。
Medrad@ Stellant D-CE通过以下技术,有效
提高工作效率:
针筒一插即用,轻旋可卸
装卸针筒时,可自动推进和回缩
自动吸药和排气
多相注射程序,并具备保持和暂停功能
◆一体化的盐水测试灌注
◆压力.上限值可调

上海聚慕医疗器械有限公司
地址:上海闵行区联川路258号浦江智地精品商务园6B号楼3层301B
电话:13524532503 (沪)-非经营性-2022-0060
