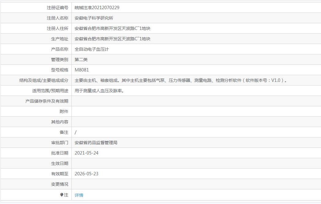
M8081 全自动电子血压计

测量参数
1.结构
全自动电子血压计主要由主机、袖套组成,主机主要包括泵、
压力传感器、测量电路、检测分析软件。
2、性能指标
(1)量程: 0-38.67kPa (0-290mmHg)
(2)分辨率: 0.133kPa (1mmHg)
(3) 可重复性: s 0.533kPa (4mmHg)
(4)精确度: +0.4kPa (土 3mmHg)
(5)电源电压、功率: AC220+22V/50+1Hz. 50VA
(6)熔断器: F1AL250V,250V 1A (中5*20)
(7)适合臂周: 17cm ~ 42cm

上海聚慕医疗器械有限公司
地址:上海闵行区联川路258号浦江智地精品商务园6B号楼3层301B
电话:13524532503 (沪)-非经营性-2022-0060
