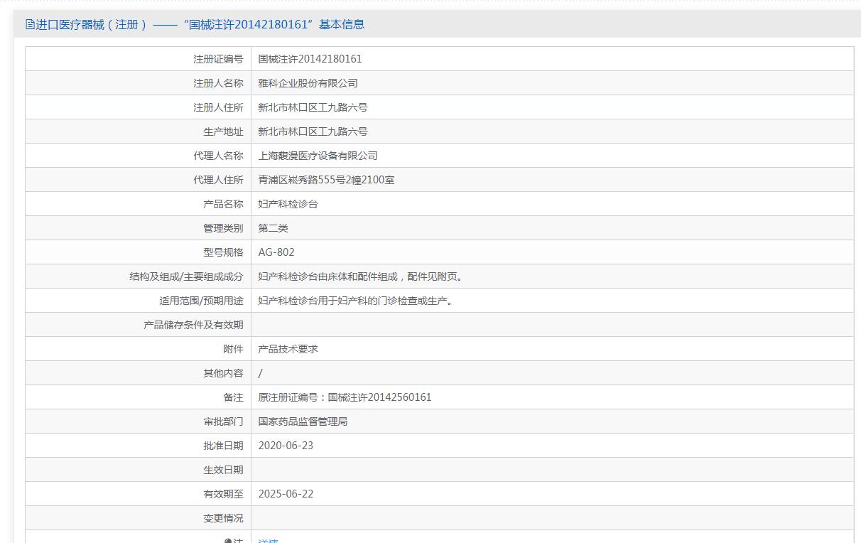
妇产科检诊台AG-802

全自动妇科检查床技术参数
一、 货物名称:全自动妇科检查床
二、 需求数量:
三、 性能及技术参数要求:
(一)、一般规格和要求:
1、要求原装进口。
2、检查台初始体位为座椅状,可一键式由座椅位至诊查体位(即截石位)转换,并具有一键式自动回复功能。
3、检查台由主机、背板、腰板、一体式腿板、污物盘组成。
*4、臀板与腿托为一体式设计,截石位时臀部下完全无遮挡、无障碍,方便阴道超声、阴道镜及手术等的操作。
*5、电动液压操作系统,可电动完成一键式诊查位、一键式回复、主体升降、背板倾斜、腿板开闭、腿板锁定、左右腿板单独调节等功能,运行平稳、无震动、无噪音。
6、检查椅需具有主体旋转及锁定功能,锁定后检查椅为固定模式,左右旋转方向可预设。
*7、需具有预设功能,可对主体高度、背板倾斜角度、是否需要旋转功能,以及
运行速度进行预设。
*8、需具有红外无线式脚踏开关,同时具有主体辅助开关,可进行诊查体位、恢复位操作。
9、腰板需具有可拆卸的座位罩,易于冲洗消毒,具有隐蔽式安装一次性中单的
滚轴。
10、需具有防水污物盘,树脂材质,防锈防腐性强,可抽拉,能根据需要调整
托盘位置,配有防溅保护网。
11、检查台两侧需具有扶手,扶手具有可拆卸保护套。
(二)、主要技术和性能规格要求
1、初始高度≤450mm
2、升降范围450~1030 mm
3 、开脚 ≥420 mm
4、背板倾斜角度: 77°~ - 6°
5、主体旋转角度:0°~110°
6、承重≥130kg
7、座椅宽560~660mm
8、背板宽度560~710 mm
9、电源: 220VA 50/60HZ
四、 配置:
1、主机
2、脚踏控制装置
3、扶手
4、大腿托
5、污物盘(带防溅网)

上海聚慕医疗器械有限公司
地址:上海闵行区联川路258号浦江智地精品商务园6B号楼3层301B
电话:13524532503 (沪)-非经营性-2022-0060
