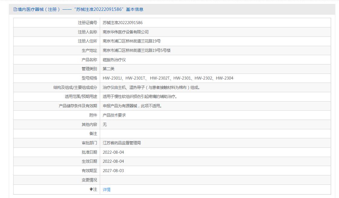
华伟 磁振热治疗仪HW-2302T、HW-2301
产品原理
磁振热治疗采用磁场、振动,温热三种物理因子相结治疗方式;可改善局部血液循环,护张血管,加速炎性渗出吸收;降低末
梢神经的兴商性,有效缓解肌肉的疆硬,疲劳和疼痛。
产品特点
外观专利
①磁疗,震动.温热同步输出!
②叠加效应、立体治疗
③起到祛肿。镇痛.消炎的作用,解除疲劳和肌肉酸痛
适应科室
康复理疗料。中医科.康复科.卒中病房、老年病科等,
产品优势
产品严格遵守国家行业标准各输出通道及参数分色分组显示操作简易易行可用于慢性炎症治疗导子多型号配置适用于人体不
同部位治疗需要:可快速插拔治疗导子接口.方便导子收存,保障备件整洁安全!
技术参数
1额定输入功率: 300VA
2.磁场强度范围: 20mT+7mT
3振动频率为50Hzt1Hz
4.振动幅度为1mm(p-p)
5具备2种治疗模式
M1:周期3秒,振动0.4s,间歇2.6s,
M2:周期2.5秒,振动0.2s.间歇2.3s. 。
6.温度控制:开机默认为常温工作模式,可选择温控工作模式,分40°C. 46°C. 52°C. 58"C四级可调。
7治疗定时时间0-99min,可任意设置
8.将磁疗, 振动,热疗三种治疗方式相结合,由一种导子同时输出,实现三种治疗同步进行;
9.输出通道:-通道;
10数码管显示窗口;
11.标配- -个温热导子。
12.治疗仪治疗完毕,并有峰呜器报警提示。
13.双温保护功能,温度高于60C切断输出电源。并对操作按键锁定。

上海聚慕医疗器械有限公司
地址:上海闵行区联川路258号浦江智地精品商务园6B号楼3层301B
电话:13524532503 (沪)-非经营性-2022-0060
